Замена прокладки впускного, Меняю самостоятельно |
Здравствуйте, гость ( Вход | Регистрация )
Замена прокладки впускного, Меняю самостоятельно |
6.12.2007, 20:10
Сообщение
#1
|
|
|
Группа: Участник Сообщений: 37 Спасибо: 3 Авто: Isuzu Wizard'2000 |
Всем привет,
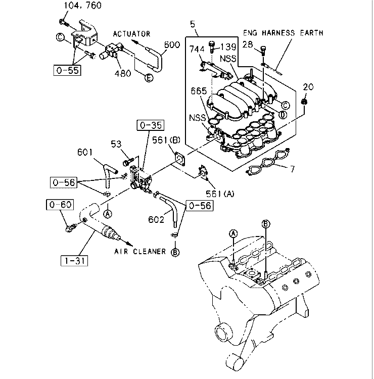
Подсасывает воздух впускной коллектор, скорее всего через трещины в прокладке. Прокладки заказаны новые. Есть желание осилить самому замену прокладки - в принципе, там отвернуть 4+4 гайки, предварительно скинув рампу, поднять коллектор в сборе, заменить прокладки. Вопрос: надо-ли ставить новые прокладки на высокотемпературный (красный) герметик или сойдет и так? Кто как пробовал, делитесь опытом. Двиг 6WD1 isuzu, деталь по каталогу - №7 см. рис. |
|
|
|
learner Замена прокладки впускного 6.12.2007, 20:10
KAMAZ Красный и черный герметик для дилетантов и для дек... 7.12.2007, 1:16
learner Цитата(KAMAZ @ 7.12.2007, 0:16) Красный и... 7.12.2007, 20:09
KAMAZ Цитата(learner @ 7.12.2007, 19:09) Троит,... 7.12.2007, 20:16
learner Цитата(KAMAZ @ 7.12.2007, 19:16) ну тогда... 7.12.2007, 20:40
KAMAZ Цитата(learner @ 7.12.2007, 19:40) Ну как... 7.12.2007, 20:41
learner Замена прокладки прошла удачно! Машина не шипи... 15.12.2007, 14:29![]() ![]() ![]() |
|
Текстовая версия | Сейчас: 26.11.2025, 23:31 |